
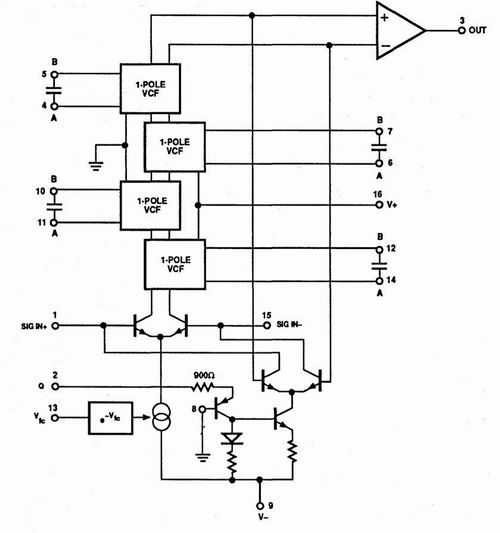
* SSM2044 CM. Ladder VCF
SSM2040よりも low costのLPF専用VCFです。 VCFの内部構造は SSM2040と異なるようで上図からも ladder VCFがベースのようでIC化しやすいようにモディファイされた形でしょうか。Ladder VCFといってもDiodeやTransistor Ladder VCFではありません。
等価回路の詳細は明かにはされてはいませんがおそらく以下の構造だと思わます。基本的にはSSM2040と同じくカレントミラーがベースになっていますが2040の場合OTA cellを構成するのに差動回路、テイル電流源回路、カレントミラー、Output Bufferが4系統必要になるのでそれを合理的に減らす回路構成となっています。2040はシンプルなOTAですが2044の方はVCR素子としてウィルソンカレントミラーを使用し基本構造はLadder VCFですがTr. Ladderの負荷のTr.のかわりにウィルソンカレントミラー回路左右にを配置してその間にcapacitorを置くことで梯子構造としてCVの影響をを避けFeedthroughを改善する構造のようです。
この場合、MOOG ladder VCFと同様、後段に対してBuffer効果が期待できる形状となっています。入力側の情報が出力側に伝達されるも入力と出力は分離されている形で次段の負荷の影響を受けない構造。すなわちSSM2044はカレントミラーLadder VCFというわけです。DiodeやTransistorの代わりにカレントミラーを使用と考えれば構造は理解できるかと。
とてもクレバーな回路というかMOOG VCFと違うLadder VCFを目指した結果か?。MOOG VCFのようにVCR用のTR.のベース電圧固定用の抵抗ネットワークが無しですみます。
上図のようにウィルソンカレントミラー(CM)がベースです。右図のように2個並べて43と44の端子にCapactorを置きます。43と44がfilterのInputで42と45がfilterのoutPutでOutPutを次段のFilter Stageにつなげるイメージで全体像としてはLadder Filterを構成。MOOG Tr.Ladder VCFと同様の定電流入力の並列型1次LPFということです。Tr. Ladderの場合と同様にエミッタの微分抵抗とCap.が並列接続で両者のインピーダンスによってAUDIO信号の分流比がきまり1次LPFが構成されます。両(CM)のinput側のコレクタ電流の変化が出力側の電流にコピーされます。入力と出力電流が同じ方向になっているのでわかりにくいです。カレントミラー(CM)なので入力側のTr.のコレクタ電流がもう片側のコレクタ電流としてコピーされた定電流となるのでOUT側は次段の負荷に対してBuffer効果が出ます。

* 定電流入力の1次LPF 1段の電流特性の関係(HPF:Cap. / LPF:微分抵抗)
* 右図: Fc付近の波形(Cap./コレクタを流れる電流は同じ大きさ)
(0を中心とした正弦波電流(Cap.)と制御電流がOffsetされたコレクタ電流)
ウィルソンカレントミラー(CM)1次LPFの簡単な説明
I1: 制御電流とAUDIO信号電流を重畳した定電流源(Filter IN)
Cap.には直流電流は流れないのでバイアス電流はQ1のコレクタ電流となりその大きさに対応したVbeの値と電流値(動作点の位置)で微分抵抗が決まる。微分抵抗とCap.のインピーダンスの比で信号電流が分流しCap.IはHPF特性、Ic1はLPF特性となりCapIを積分した値が1次LPFの電圧特性となる。制御電流はCap.に流れないので後段の(CM)まで同じ値で伝達。AUDIO信号はバイアスレベルや周波数で分流比が変化するのでLPFとしての電流特性で後段に伝達。(CM)なのでQ1のIc = Q3のIcでLPF特性。 Q3のIcはQ1のIcに従うのでOTA出力は定電流特性となり後段の負荷に影響されずBuffer効果が働く。(Filter Out)
(CM)の多段接続なので各段の電源供給ラインがVccとGNDに相互に接続されているようです。ということはPNPとNPNの(CM)交互にないとおかしいわけで上記の図も説明的には若干わかりにくいですが(CM)の個々をみながらPNP(Vcc) .... NPN(Gnd) .... PNP(Vcc) .... NPN(Gnd)と追っていけば制御電流の流れは差動対がMasterでそれがGm1-->Gm2-->Gm3--> Gm4に伝達していくイメージ。各capacitort端子のnode(入力)には電圧が発生していますが、(CM)の出力は定電流出力となって定電流型のCR並列1次Filterとなるわけで基本はTr. Ladder VCFと同様の動作。
MOOG Tr. Laderであれば直接Tr.のエミッタとCap.が並列接続になった形でエミッタの微分抵抗がR要素ですがこの回路の場合コレクタとCap.の接続。 C-E間は抵抗体ではないわけですが微分抵抗を反映した電流動作であるのは事実で上記Q1につながっているDiode接続のQ2はDiode動作なので真に微分抵抗であり両サイドには同じ電流がながれているのMOOGの動作と同じになってエミッタ微分抵抗を反映しているわけです。
ちょっとMOOG Tr. ladderの応用展開といったイメージ。Q2はDiode接続なのでQ2の経路はこれだけでは定電流動作にならず抵抗が必要だし、抵抗であればIc2は抵抗と図ではV1に依存してしまう。Q3があるのでOut PUTは外部負荷及び図ではV1に依存しないQ1のVbeに従った定電流となる。単なるカレントミラーでは動作せずウィルソンカレントミラーがだら動作するFilterということ。MOOGの1Tr.に対して3個Tr.が必要になる回路。
すなわちGm1(PNP)のCap.側の制御電流はは差動対に流れこみ、そのcopy成分がGm2(NPN)のCap.側の入力に流れ、Gm2のoutはGm3(PNP)のin側から吸い込み電流。さらにGm3のOutがGm4(NPN)のInに流れ込みcapacitorの端子に現れた電圧を差動AMPで受けると考えればいいのではないかと想像しますがはて?。完全な等価回路は見たことがないので想像ですが大枠は合っているかと。
普通のLadder VCFのように上(Vcc)のVCR素子から差動対に向かって直線的に制御電流が流れてはいないのでわかりにくいのですが通常のOTA内のカレントミラーの動作を考えればわかるのでは。Ladder VCFゆえ最終段のカレントミラーが負荷抵抗の役目をしVCA化しないような構造になっています。
重要な要素としてはOTAを1次Filterに使用する場合VCR要素に対してOTAは定電流要素なので2040タイプを使う場合必ず負帰還をかけてOTAをVCR化する必要がありますがMOOG Tr.Ladderやこの2044のようなVCFの場合、CR Filterとしては定電流入力の並列型FilterでありかつTransisterの微分抵抗を利用する回路なのでそのようなことは必要なくかつ各段の出力自体は定電流出力になっているのでBuffer効果があるということです。VCF全体としては負帰還型のVCFではあります。
SSM2045/SSM2047
SSM2040,SSM2044は完成形であったのかそれゆえSSMのVCF ICは基本 SSM2040とSSM244の2っのみですがそれ以降は複合chipのSSM2045,SSM2047の中にVCFが入っていますがこれらは2poleごとにBufferが入っており2pole/4poleの出力が可能。 さらに2chのMIX VCAがついており独立していますのでVCFそのものもSSM2040 typeとは若干違う構造のようで2044とはら明かに違います。SSM2047については規模的には下記のNJM2069と同規模です。
SSM2045/47は所有していないのですが構成を以下の示します。
・SSM2045
・SSM2047
CEM3372/CEM3379に対抗する chipなのだと思います。90年代初期にはまだUKのMaplinで購入可能だったというのを後から知りました。94年にMaplinではSSM2024は買うことができましたが2045/47はなかったです。VCFに追加されたVCAはSSM2024で代用できそうでDatasheetを見てもSSM2024の応用例と同様な感じです。
|
-------------------------------------------------------------------------------
ちなみに21世紀の現在、秋月電子で売っているSSM2044の互換チップのV2044は200円代ととても安価です。。当方は2044のオリジナルを沢山持っているので買う必要もなかったのですが安さにつられて購入しました。SOPでなければなおよかったにと思いますがbehringerのクローンsynthに使うのが目的で製造されているのでしょうからDIPは論外なのでしょう。と思ったら最近値上がりしている。ALFAの3340は8倍ぐらいになっていで入荷未定とのこと
KORGの Trident/poly six / mono poly、TEISCO(KAWAI)のDCO synthやヨーロッパの synthに多く使われていました。個人的にもSSM2044のキャラクターは好きなVCFです。以前Poly6を持っていましたがそれ以前のKORGVCFとは異なるキャラクターです。 Poly6は後段の3相BBD Effectのキャラクタも大きいですがSSM2044の存在も大きいと思います。2000年ごろCAT SRMのVCF/VCAのコピーを作りましたがCATもSSM2044と2040のversionがあります。CEM3320と並びSSM2044は80年代を代表するVCF Chipかと思います。おそらくSSM2040よりは使われているでしょう。
2000年ごろ調べた各社のVCF type一覧の再掲載 各社のVCF
|